源码编号;D72
源码名称:基于SSM的个人所得税管理系统
项目类型:Java web (SSM框架)
用户类型:双角色,用户、管理员
主要技术:Java、JSP、SSM、BootStrap
运行环境:win10/win7、JDK1.8及以上
运行工具:IDEA/Eclipse
数 据 库:MySQL5.5及以上版本
运行服务器:Tomcat7.0及以上版本
Node.js版本:14以上
是否基于Maven环境:是
数据库表数量:7 张表
是否有代码注释:有注释
适用场景:Java毕业设计学习参考。
项目简介:基于SSM的个人所得税管理系统是一款关于管理个人所得税的系统。本系统主要分为前台和后台,前台是用户,用户注册登录后可以进行个人所得税的管理。功能模块有;注册登录、个人减税标准管理、税务申报管理、新增税务申报、减税申请管理、新增减税申请、交税订单管理等。后台管理员登录后进行系统管理。功能模块有;用户管理、减税标准管理、新增减税标准、税务申报管理、减税申请管理、公告管理、修改密码,以及管理员权限内的系统的增删改查。
登录

项目内容

项目骨架

数据库

注册

用户管理

减税标准管理

新增减税标准

税务申报管理

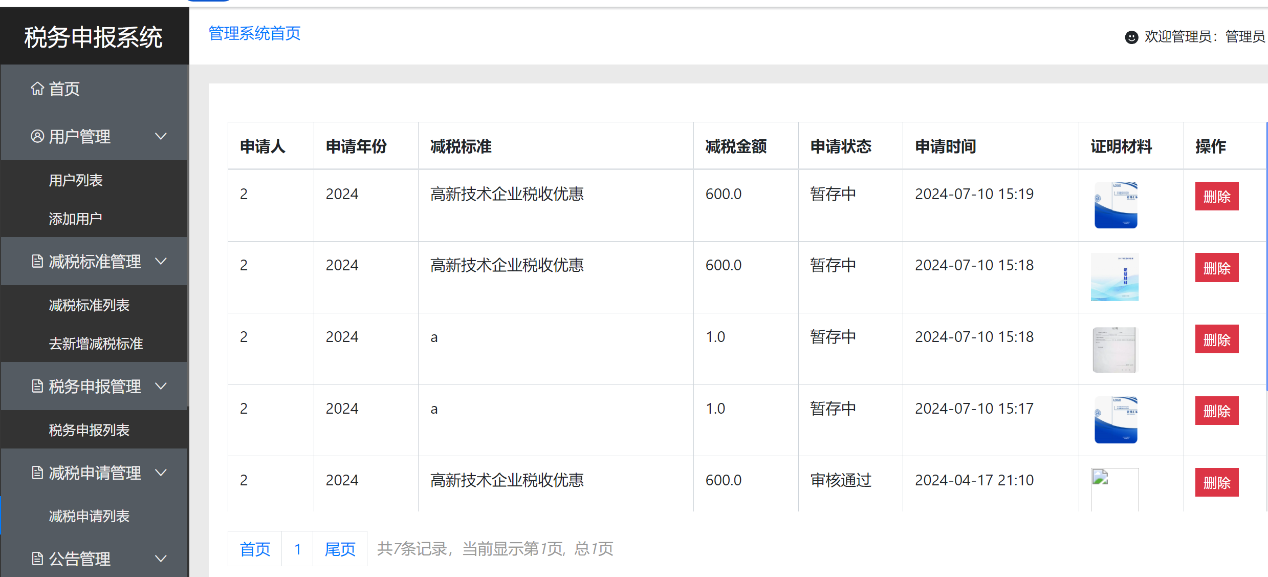
减税申请管理

公告管理

温馨提示! 你需要支付
¥19.00 元后才能查看付费内容
点击付费