源码编号;S88
源码名称:基于SpringBoot的特色旅游规划管理系统
项目类型:Java web (SpringBoot 框架)
用户类型:双角色,用户、管理员
主要技术:Java、JSP、SpringBoot、BootStrap
运行环境:win10/win7、JDK1.8及以上
运行工具:IDEA/Eclipse
数 据 库:MySQL5.5及以上版本
运行服务器:Tomcat7.0及以上版本
是否基于Maven环境:是
数据库表数量:13张表
是否有代码注释:有注释
适用场景:Java毕业设计学习参考。
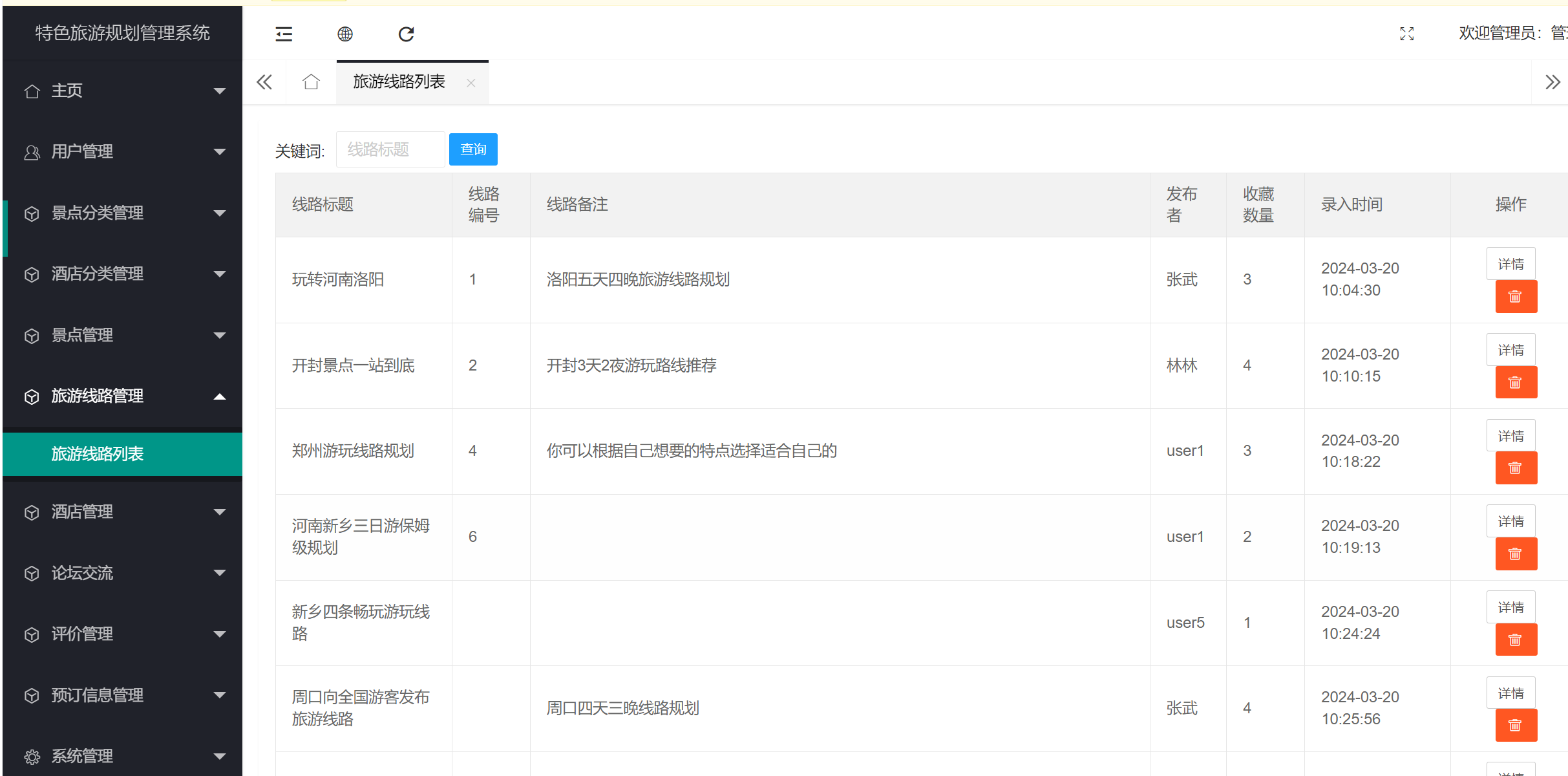
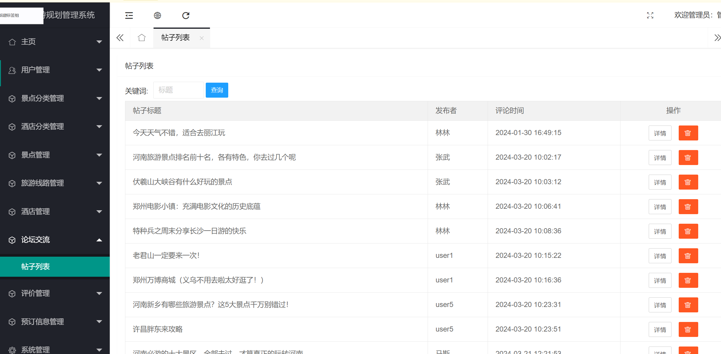
项目简介:基于SpringBoot的特色旅游规划管理系统是一款关于管理旅游规划的系统。本系统主要分为前台和后台,前台是用户,用户注册登录后进行个人旅游规划管理。主要功能模块有;我的景点预订、我的酒店预订订单、我的帖子、我的旅游路线、我的订单评价、我的帖子评价、我的收藏、个人信息等。后台管理员登录后进行系统管理,主要功能模块有;用户管理、景点分类管理、酒店分类管理、景点管理、旅游线路管理、酒店管理、帖子管理、评价管理、预订信息管理,以及系统的增删改查。
首页

项目内容

项目骨架

数据库

注册

登录

用户管理

景点管理

旅游线路管理

酒店管理

帖子管理

评价管理

预订信息管理

温馨提示! 你需要支付
¥29.00 元后才能查看付费内容
点击付费