源码编号:S55
源码名称:基于Spring Boot+Vue 的实验室设备管理信息系统
项目类型:Java web(Spring Boot+Vue 框架)
用户类型:双角色,用户、管理员
主要技术:Java、Spring Boot、Vue、BootStrap
运行环境:win10/win7、JDK1.8及以上
运行工具:IDEA
数 据 库:MySQL5.5及以上版本
是否前后分离:是
Node.js版本:14以上
是否基于Maven环境:是
数据库表数量:9 张表
是否有代码注释:是
适用场景:Java毕业设计学习参考。
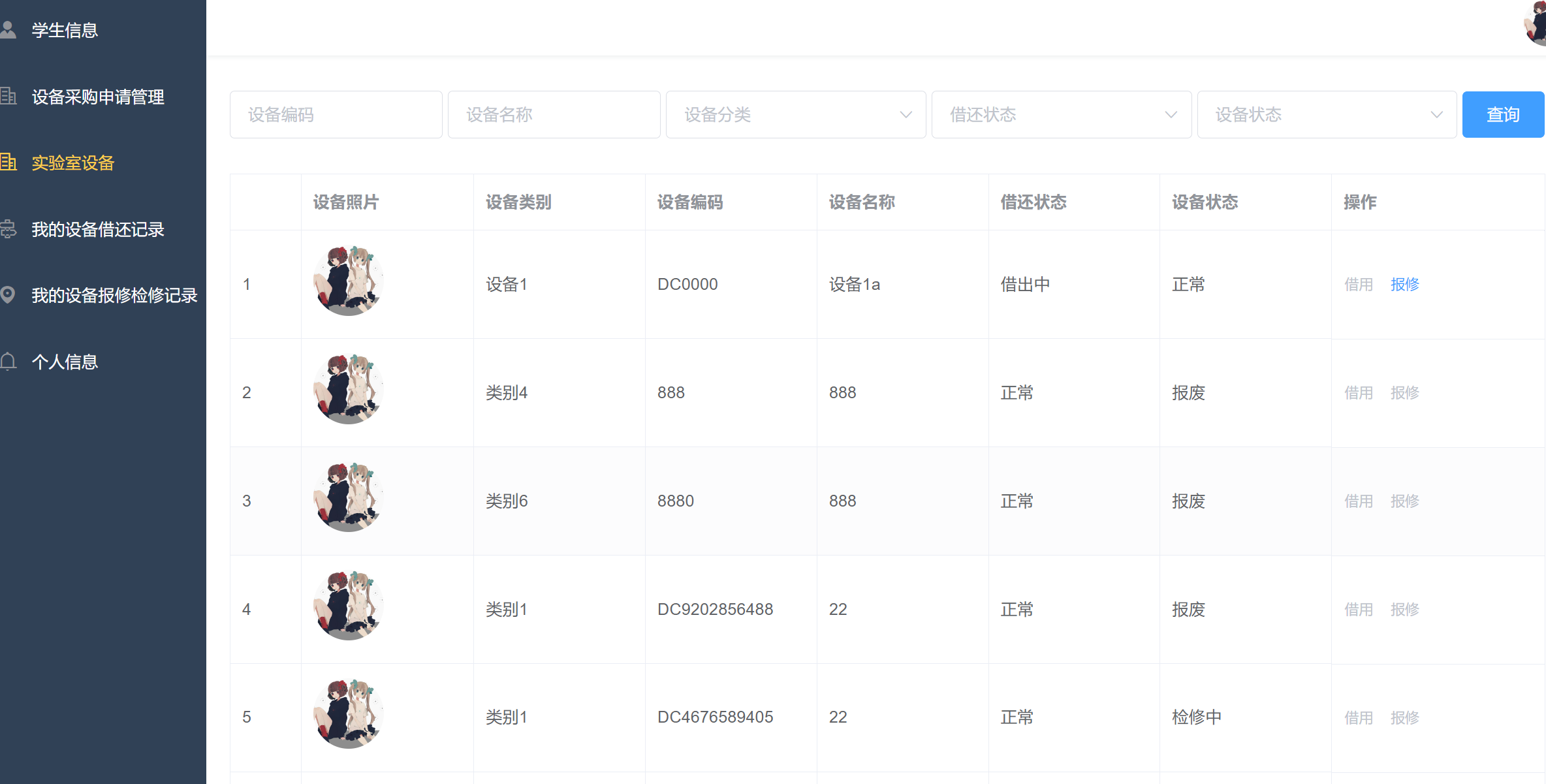
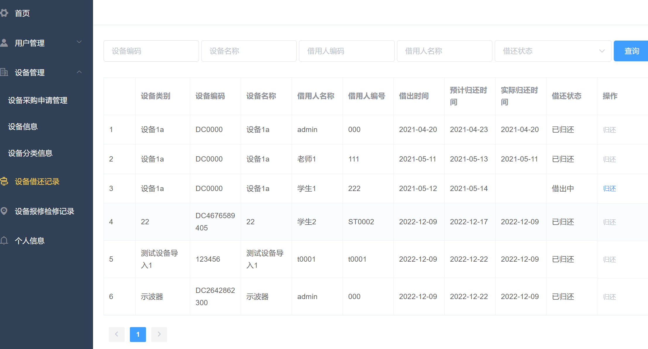
项目简介:基于Spring Boot+Vue 的实验室设备管理信息系统。系统分为前台和后台,前台是学生,用户登录后在前台个人实验室设备信息的管理。主要模块有;实验室设备管理、我的借还记录管理、我的设备报修记录管理,个人信息管理。后台为教师和管理员。教师登录后进行教师权限的系统管理,主要功能模块有;学生信息管理、设备采购申请管理、实验室设备管理、教师设备借还记录管理、教室设备报修检修管理、教师信息管理等。管理员登录后进行系统管理。主要功能模块有;学生管理,教师管理、班级管理、设备申请管理、设备借还记录管理、设备保修检修记录管理、管理员信息管理,以及管理员权限内的系统的增删改查等。
首页

项目内容

项目骨架

数据库

登录

学生信息管理

实验室设备管理

设备借还记录管理

设备报修记录管理

设备采购申请管理

温馨提示! 你需要支付
¥19.00 元后才能查看付费内容
点击付费